Nullam dignissim, ante scelerisque the is euismod fermentum odio sem semper the is erat, a feugiat leo urna eget eros. Duis Aenean a imperdiet risus.

| Appellation | Code | Rated Current | Earth contact position | Rated Voltage Range | Number of poles | Protection Grade |
| Plug | JH014N | 16A | 6h | 380-415V~ | 3P+E | IP44 |
| Plug | JH024N | 32A | 6h | 380-415V~ | 3P+E | IP44 |
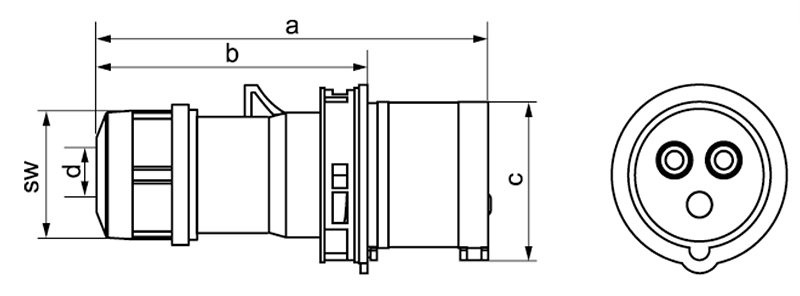
| Code | Size(mm) | Cable nominal cross-section area(mm²) | ||||
| a | b | c | d | sw | ||
| JH014N | 118 | 82 | 47 | 6-15 | 38 | 1-2.5 |
| JH024N | 146 | 100 | 63 | 10-20 | 50 | 2.5-6 |