Nullam dignissim, ante scelerisque the is euismod fermentum odio sem semper the is erat, a feugiat leo urna eget eros. Duis Aenean a imperdiet risus.

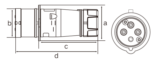
| Appellation | Code | Rated Current | Earth contact position | Rated Voltage Range | Number of poles | Protection Grade |
| Plug | JH014J | 16A | 6h | 380-415V~ | 3P+E | IP44 |
| Plug | JH024J | 32A | 6h | 380-415V~ | 3P+E | IP44 |
| Code | Size(mm) | Cable nominal cross-section area(mm²) | |||
| a | b | c | d | ||
| JH014J | 59 | 49 | 138 | 101 | 1-2.5 |
| JH024J | 70 | 57 | 168 | 122 | 2.5-6 |